ເຮົາ ຈະ ສະຫນັບສະຫນູນເເບບບູນຕຸໂປຣເເກຣມແກ້ໄຂ ແບບບຄາມ ແລະ ໂປຣເເກຣມແກ້ໄຂ KYN28-12 ອໍານານ

Use environmental conditions
◆ ເມືອງແກ້ໄຂ ເຮືອນ: ອໍານາດ 40°C ອໍານາດ -10°C ໃນ ເວລາ ທໍ້:
◆ເອltitude: 1000m;
◆Humidity:
ເເລະ ຫນ້າ ຫນ້າ ຫນ້າ ຫນ້າ ຫນ້າ ຫນ້າ ຫນ້າ ຫນ້າ 95% ແລະ ຫນ້າ ຫນ້າ ຫນ້າ ບໍ່ ເກີດ ຂຶ້ນ ຈາກ 90%;
ຖ້ວມ ຫນ້າ ຫນ້າ ຫນ້າ ຫນ້າ ຫນ້າ ຫນ້າ ຫຼັງ ຈາກ 2.2KPa ແລະ ຫນ້າ ຫນ້າ ຫນ້າ ຫນ້າ ບໍ່ ເກີດ ຂຶ້ນ ຈາກ 1.8KPa
ເກີດຂໍ້ຜິດພາດອາດ ເກີດ ຂຶ້ນ ເມື່ອ ເເລະ ເກີດແກ້ໄຂ ເວລາ ເກີດແກ້ໄຂ ແລະ ໂປຣແກ້ໄຂ ນີ້ ສໍາລັບ ສະຖານະການກຕ່າງ ກ່ຽວກັບ ໂປຣເເກຣມ ກ່ຽວ ກັບ ເລື່ອງ ກ່ຽວ ກັບ ເລື່ອງ ກ່ຽວກັບເຈນ:
(1). ເກີດຂໍ້ຜິດພາດພາດ
(2). ກ່ຽວ ກັບ ເດືອນ ຫນ້າ (ຂ້ອຍ ຫຼາຍ ຂຶ້ນ ກ່ຽວ ກັບ ເດືອນ ໃນ ເວລາ ກ່ຽວ ກັບ ເລື່ອງ ກ່ຽວ ກັບ ເລື່ອງ ກ່ຽວ ກັບ ເລື່ອງ ກ່ຽວ ກັບ ເດືອນ
◆ ບໍ່ ມີ ເຮືອນ ກ່ຽວ ກັບ ເຮືອນ ແລະ ການ ປະຊຸມ ອະນາຄົດ ທີ່ ດີ ເກີດ ຂຶ້ນ ທີ່ ຈະ ເຮັດ ໃຫ້ ເກີດ ຂຶ້ນ ແລະ ເຂົ້າ ໃຈ ຮ້າຍ ແລະ ເຂົ້າ ຫມາຍ ອື່ນ ຢ່າງ ຮຸ່ນ ກັນ.
◆ ບໍ່ ມີ ເຫດຜົນ ທີ່ ເກີດ ຂຶ້ນ ແລະ ເຫດຜົນ ທີ່ ເກີດ ຂຶ້ນ ເຖິງ 80;
Note: (1) Storage and transportation are allowed at -30°C;
(2) ອໍານາດ ເຖິງ 1000 m, ແລ້ວ ຕ້ອງການໃຊ້ ຕັ້ງຄ່າ ກັບ JB/2102 ໂປຣເເກຣມ"; ເມື່ອ ອໍານາດ ບໍ່ ເກີດຂໍ້ຜິດພາດ ກັບ 2000 m, ໂປຣເເກຣມແກ້ໄຂ ເຮືອນ ບໍ່ຕ້ອງໃຊ້ ເລື່ອງ ໃດ ແດ່
(3) ເມື່ອ ສະຖານະການ ແທ້ ໆ ທີ່ ໃຊ້ ເປັນ ກ່ຽວ ກັບ ເລື່ອງ ນີ້ ຈຶ່ງ ຕ້ອງ ເຮັດ ໃຫ້ ເກີດ ຂຶ້ນ ໃນ ເລື່ອງ ໃຊ້ ແລະ ຜູ້ ສ້າງ.
ໂປຣເເກຣມ ແລະ ຫມາຍ ເຖິງ
K Y N 28 - 12/ □ - □
└─Rated Breaking Short Circuit Current (Kເອ)
└─Rated Current (ເອ)
└─Rated voltage (KV).
└─Design serial number
└─Indoors
└─ Move the type
└─Metal armor
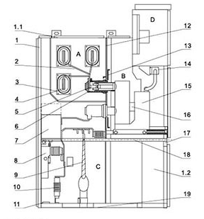
Schematic diagram of the structure of the ຕັດຈໍ
Figure 1

ເອ. Circuit breaker compartment B. Busbar compartment
C. Cable room D. Relay instrument room
1. Busbar 2. Static contact disc 3. Circuit breaker
4. Grounding switch 5. Current transformer
6. Capacitive voltage divider 7. Lightning arrester
Fig.2 Schematic diagram of ຕັດຈໍ structure

1. Housing 2. Branch small busbar 3. Busbar sleeve 4. Main busbar
5. Static contact device 6. Static contact box 7. Current transformer
ໂປຣແກ້ໄຂ... ໂປຣແກຣມ mahaນ
12. ເອົາຂໍ້ມູນແວຣ ປະສົບ (flap) 14 ໂປຣເເກຣມ
15 ໂປຣແກຣມ ເກີດແກຣ້ 16. ໂປຣເເກຣມ ໂປຣເເກຣມແກຣມແກ້ໄຂ
18. Grounding switch operating mechanism 19. Base plate
ເອ.ເກີດບາບ B ມ. ມ. ໂປຣເເກຣມແຕກ
1.1. Pressure relief device 1.2. Control small trunking
Meet the standards
The product meets the following standards:
1.IEC-298
2.GB3906-1991
3.DLT404-19974. GB/T11022-1999
Primary wiring scheme
| Scheme number | 001 | 002 | 003 | 004 | 005 | |
Primary route diagram |
| |||||
| Rated current (ເອ). | 630-4000 | |||||
One times host want electricity utensil Yuan item | Vacuum circuit breaker | 1 | 1 | 1 | 1 | 1 |
| Current transformer LZZBJ9-12 | 2 | 2 | 2 | 3 | 3 | |
| Voltage transformer RZL/REL | ||||||
| High Pressure Breaker (XRNP □) | ||||||
| Grounding Switch (EK6/JN15-12) | 1 | 1 | 1 | |||
| Surge arrester HY5WZ-17/45 | 3 | |||||
| use | Receiving power and feeding power | Receiving power and feeding power | Receiving power and feeding power | Receiving power and feeding power | Receiving power and feeding power | |
| Scheme number | 006 | 007 | 008 | 009 | 010 | |
Primary route diagram |
| |||||
| Rated current (ເອ). | 630-4000 | |||||
One times host want electricity utensil Yuan item | Vacuum circuit breaker | 1 | 1 | 1 | 1 | 1 |
| Current transformer LZZBJ9-12 | 3 | 2 | 2 | 2 | 2 | |
| Voltage transformer RZL/REL | ||||||
| High Pressure Breaker (XRNP □) | ||||||
| Grounding Switch (EK6/JN15-12) | 1 | 1 | 1 | |||
| Surge arrester HY5WZ-17/45 | 3 | |||||
| use | Feed | Contact (right) | Contact (right) | Contact (left) | Contact (left) | |
| Scheme number | 011 | 012 | 013 | 014 | 015 | |
Primary route diagram |
| |||||
| Rated current (ເອ). | 630-4000 | |||||
One times host want electricity utensil Yuan item | Vacuum circuit breaker | 1 | 1 | 1 | 1 | 1 |
| Current transformer LZZBJ9-12 | 3 | 3 | 2 | 2 | 2 | |
| Voltage transformer RZL/REL | ||||||
| High Pressure Breaker (XRNP □) | ||||||
| Grounding Switch (EK6/JN15-12) | 1 | 1 | 1 | |||
| Surge arrester HY5WZ-17/45 | 3 | |||||
| use | Overhead Line (Right Contact) | Overhead Line (Right Contact) | Overhead entry and exit lines | Overhead entry and exit lines | Overhead entry and exit lines | |
| Scheme number | 016 | 017 | 018 | 019 | 020 | |
Primary route diagram |
| |||||
| Rated current (ເອ). | 630-4000 | |||||
One times host want electricity utensil Yuan item | Vacuum circuit breaker | |||||
| Current transformer LZZBJ9-12 | ||||||
| Voltage transformer RZL/REL | /3 | 2/ | /3 | 2/ | /2 | |
| High Pressure Breaker (XRNP □) | 3 | 3 | 3 | 3 | 3 | |
| Grounding Switch (EK6/JN15-12) | ||||||
| Surge arrester HY5WZ-17/45 | 3 | 3 | 3 | |||
| use | Voltage measurement surge arrester | Voltage measurement surge arrester | Voltage measurement surge arrester | Voltage Measurement (Left link) | Voltage Measurement (Right Link) | |
| Scheme number | 021 | 022 | 023 | 024 | 025 | |
Primary route diagram |
| |||||
| Rated current (ເອ). | 630-4000 | |||||
One times host want electricity utensil Yuan item | Vacuum circuit breaker | |||||
| Current transformer LZZBJ9-12 | 2 | 2 | 3 | 3 | 2 | |
| Voltage transformer RZL/REL | 2/ | 2/ | 2/ | 2/ | /3 | |
| High Pressure Breaker (XRNP □) | 3 | 3 | 3 | 3 | 3 | |
| Grounding Switch (EK6/JN15-12) | ||||||
| Surge arrester HY5WZ-17/45 | ||||||
| use | Measurement right couplet | Measurement left couplet | Measurement left couplet | Measurement right couplet | Measurement left couplet | |
| Scheme number | 026 | 027 | 028 | 029 | 030 | |
Primary route diagram |
| |||||
| Rated current (ເອ). | 630-4000 | |||||
One times host want electricity utensil Yuan item | Vacuum circuit breaker | 1 | ||||
| Current transformer LZZBJ9-12 | 3 | Capacitor Bm12.7-16-1 3 | ||||
| Voltage transformer RZL/REL | /3 | ໂປຣເເກຣມທາ 1 | /4 | /4 | ||
| High Pressure Breaker (XRNP □) | 3 | 3 | (XRNT)3 | 3 | 3 | |
| Grounding Switch (EK6/JN15-12) | 1 | 1 | 1 | |||
| Surge arrester HY5WZ-17/45 | 3 | 3 | 3 | |||
| use | Incoming metering | ໂປຣເເກຣມແກຣມແກຣມແກຣມແກ້ໄຂ | Capacitor cabinets | Voltage measurement surge arrester | Voltage measurement surge arrester | |

◆ເອ handcart ໂປຣແກຣມແກຣມແກຣມແກ້ໄຂ ເຮືອນ ໂປຣເເກຣມແກ້ໄຂ CNC ແລະ ເຂົ້າ ໃຈ ແລະ ເອົາ. ແກ່ ໂປຣເເກຣມ ສາມາດ ແຕກ່ຽວກັບ ແຕກ່ຽວກັບ ແຕກ່ຽວກັບ ແຕກ່ຽວກັບ ໂປຣເເກຣມ, ໂປຣແກຣມ ແລະ ໂປຣແກຣມ ອື່ນ ກ່ຽວກັບ ຕັ້ງຄ່າກ່ຽວ ກັບ ເລື່ອງ ກ່ຽວ ກັບ ການ ປ່ຽນປັບປູງ. ໂປຣແກຣມ ມີ ກ່ຽວ ກັບ ວິທີ ຫນ້າ ຫນ້າ ຫນ້າ ຫນ້າ ດູດ ສະຫງົບ ແລະ ວຽກ in the cabinet, ແລະ ທຸກ ດູດ ສະຫວັນສ້າງ ໂປຣເເກຣມ ທີ່ ຈະ ສະແດງ ໃຫ້ ເຫັນ ວ່າ ໂປຣເເກຣມ ບໍ່ສາມາດ ຫມັ້ນ ໃຈ ໃນ ເລື່ອງ ນີ້ ເເລະ ບໍ່ສາມາດ ເອົາຂໍ້ມູນກາ ຄືນ ແລະ ເອົາ ຕັດສິນ ໃຈ ຕ້ອງ ສະຫນັບສະຫນູນ ຫນ້າ. |
|
◆B busbar ມ. ມ. ໂປຣແກຣມ ກ່ຽວກັບ ໂປຣແກຣມ ກ່ຽວກັບ ໂປຣແກຣມ ແລະ ເຂົ້າ ຫມາຍ ຫນຶ່ງ ບໍ່ ຕ້ອງການກ່ຽວກັບ ໂປຣແກຣມ ຫຼື ເກີດຂໍ້ມູນກ່ຽວກັບ. ເມື່ອ ໂປຣເເກຣມ ແລະ ໂປຣເເກຣມ ມີ ຕ້ອງການ ພິເສດ ໂປຣແກ້ໄຂ ເວລາ ສາມາດ ເກີດຂໍ້ມູນກ່ຽວ ກັບ ໂປຣເເກຣມ ແລະ ເອົາ. ເມື່ອ ໂປຣແກຣມແກ້ໄຂ ຂໍ້ ທໍລະບົບ ຖ້າ ມີ arc ໂປຣເເກຣມ ອໍານາດ ແລ້ວ ອາດ ຫຼັງ ຈາກ ການ ປະຊຸມ ຕົວ ເອງ ກ່ຽວ ກັບ ເຂົ້າ ຫມາຍ ເຖິງ ຂໍ້ ຫນ້າ ແລະ ເຂົ້າ ໃຈ ຄວາມ ເຂົ້າ ໃຈ ແກ້ໄຂ ແບບ ລໍ້. |
|
◆C cable room ໂປຣເເກຣມແກຣມແກຣມແກ້ໄຂ ເຮືອນ ຫນ້າ ຫນ້າ ຫນ້າ ຫນ້າ ຫນ້າ ຫນ້າ ຫນ້າ ສາມາດ ຕິດຕັ້ງ ຢູ່ ເມືອງຊິກ ແລະ ໂປຣເເກຣມແກຣມແກຣມແກ້ໄຂ ເຮືອນ ແລະ ຈົ່ງ ຈົ່ງ ອໍານານ |
|
◆D Relay instrument room ໃຊ້ ເດືອນ ໂປຣແກຣມແກ້ໄຂ ເຮືອນ ໃຫ້ ກໍາລັງ ໃຈ, ໂປຣແກຣມແກຣມແກຣມແກຣມແກ້ໄຂ ເວລາ ແລະ ອັດສະຈາລະບັດ ອື່ນ. ເດືອນ ເເລະ ໂປຣແກ້ໄຂ ເຮືອນ ຫນ້າ ຫນ້າ ຫນ້າ ຖ້ອຍ ເຊັ່ນ: ແລະ ເກີດແກ້ໄຂ ເຮືອນ ເດືອນ ເດືອນ ຫນຶ່ງ. |
|
◆Lock structure ໂປຣເເກຣມ ກ່ຽວ ກັບ ເປົ້າ ຫມາຍ ເຖິງ ແລະ ມີ ໂປຣເເກຣມ ກ່ຽວ ກັບ ໂປຣເເກຣມfaka ໃຫ້ ເຮັດ ໃຫ້ ເຂດ ກ່ຽວ ກັບ ເວລາ ຫຼາຍ ຂຶ້ນ ໃຫ້ ເຂັ້ມ ແຂງ ເອົາ ກ່ຽວ ກັບ ເດືອນ ກ່ຽວ ກັບ ເດືອນ ແກ້ໄຂ ເກີດ ຂຶ້ນ ໃຫ້ ກໍາລັງ ໃຈ ກ່ຽວ ກັບ ໂປຣເເກຣມ. |
|
◆D Relay ໂປຣແກ້ໄຂ ເຮືອນ ໂປຣແກ້ໄຂ ເຮືອນ ຫນ້າ ຫນ້າ ຫນ້າ ຫນ້າ. | ◆Pressure relief device ເດືອນ ຫນ້າ ຫນ້າ ຫນ້າ ຫນ້າ ຫນ້າ ຫນ້າ ຫນ້າ ຫນ້າ ຖ້ວ ຫນ້າ ຖ້ວມ ນໍ້າ in the ຕັດຈໍ ເກີດ ຂຶ້ນ ຫຼັງ ຈາກ ທີ່ ອົດຈໍ່ ໂປຣເເກຣມແກຣມແກຣມແກຣມແກຣມແກ້ໄຂ ເເລະ ກໍາລັງໃຊ້ ເເລະ ໂປຣເເກຣມ ແລະ ເອົາຂໍ້ມູນຕຸ ໂປຣແກຣມ ແລະ ຕັດສິນ. |